Методика изготовления гребней и других поделок из коровьих рогов. Станок для изготовления гребней из коровьих рогов

 

Бесплатные методики и технологии. Бесплатная методика изготовления гребней и других поделок из коровьего рога. Станок для изготовления гребней из коровьих рогов300295
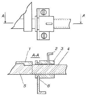
Рис. 1. Общий вид станка для нарезки
зубцов у гребня:

1 – электродвигатель; 2 – режущий узел; 3 – щиток-опора; 4 – узел крепления и перемещения заготовки гребня.

Приведенная ниже методика изготовления гребней и многих других поделок из коровьих рогов вполне доступна для реализации в домашних условиях. Основная сложность здесь – изготовление станка для нарезки зубцов. Он состоит из режущего узла, держателя заготовки гребня и механизма вращения фрезы (рис. 1). Сразу оговорюсь, что ниже будут указаны только те размеры, которыми необходимо руководствоваться при изготовлении агрегата. Остальные размеры каждый определяет, исходя из наличия деталей.

Режущий узел станка – самый сложный по изготовлению. Начинать надо с приобретения фрез толщиной 1...1,5 мм и диаметром 70...100 мм (у нас были самодельные фрезы диаметром 75 мм). Далее придется подобрать два подшипника (лучше одинакового размера), что упростит дальнейшую работу.

Рис. 2. Конструкция режущего узла300146
Рис. 2. Конструкция режущего узла:
1 – фреза; 2 – стойка; 3 – ось; 4 – стяжные болты.

Подшипники будем крепить в обоймах-стойках из 2-миллиметровой стальной полосы. Обычно высота зубцов гребня составляет 20...30 мм, то есть фреза должна делать пропил такой глубины. А раз так, выступать за обойму с подшипником фрезе следует именно на такое расстояние (рис. 2). Так что, прикиньте сами, какой должен быть наружный диаметр у подшипника.

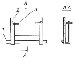
Рис. 3. Конструкция узла крепления и перемещения заготовки гребня300163
Рис. 3. Конструкция узла крепления и перемещения заготовки гребня:
1 – стойка; 2 – направляющий стержень; 3 – держатель; 4 – зажимной болт.

Высоту стоек определяет диаметр самой большой фрезы. Шкив вытачивают из металла, эбонита или другого материала. От его диаметра зависит частота вращения фрезы. При выборе этой частоты вращения принимают во внимание, что при резке рога на больших оборотах зубцы гребня от нагрева деформируются, на малых – получается «нечистый» рез. Оптимальную скорость резания определяют опытным путем. Конечно, шкив не должен препятствовать движению заготовки гребня при нарезке на ней зубцов. С учетом размеров гребня подбирают и длину оси режущего узла. Короче говоря, режущий узел конструируют таким образом, чтобы обеспечить свободное (необходимое для нарезки зубцов) движение держателя роговой пластины как вдоль оси режущего узла, так и поперек нее.

Рис. 4. Конструкция держателя250194
Рис. 4. Конструкция держателя:
1 – направляющий стержень; 2 – скоба (собственно держатель); 3 – зажимной болт.

В собранном и установленном на место режущем узле фреза должна легко вращаться, причем без бокового биения и без люфта вдоль оси. (Мы на первых порах изготовили режущий узел на основе втулки от переднего колеса велосипеда, закрепив на оси втулки фрезу и шкив.)

Скобу (держатель) узла крепления и перемещения заготовки гребня (рис. 3) монтируют на направляющем стержне. Как видно из рис. 4, держатель имеет форму скобы и снабжен зажимными болтами. Чтобы укрепить на направляющем стержне (рис. 5) держатель, на стержне делают две лыски глубиной на 1...1,5 мм меньше толщины стальной пластины, из которой согнут держатель. Обычная толщина такой пластины 2,5...3 мм. Установив держатель в лысках стержня, его к стержню крепят любым способом (сваркой, пайкой и т. д.).

Рис. 5. Направляющий стержень300140
Рис. 5. Направляющий стержень:
1 – лыски для крепления держателя; 2 – резьбовая часть.

Теперь подробнее о направляющем стержне. Для него подбирают стальной 8-миллиметровый пруток. (В свое время мы сделали стержень диаметром 6 мм, однако при работе на станке он согнулся). С правой стороны стержня до ближней лыски (паза) нарезают резьбу М8 с шагом 1 мм, что позволяет нарезать зубцы толщиной 1 мм с промежутками между ними в 1 мм, то есть равными ширине реза фрезы. Для более крупных зубцов, например, толщиной 1,5 мм и с промежутками между ними тоже в 1,5 мм, подбирают соответствующую фрезу, а также стержень с резьбой с нужным шагом.

Держатель устанавливают на стойках, которые изгибают из 2-миллиметрового железа. Обратите внимание на кромку отверстия правой стойки, куда вставляют резьбовую часть направляющего стержня. Эта кромка (рис. 6) должна иметь ширину 0,5 мм, чтобы смогла войти в резьбу стержня (на неполную глубину). Такая особенность установки стержня в отверстие позволяет при определенном навыке надежно фиксировать держатель в период нарезки зубца и легко перемещать заготовку гребня для нарезки очередного зубца.

Рис. 6. Система фиксации направляющего стержня в правой стойке узла креплений420289
Рис. 6. Система фиксации направляющего стержня в правой стойке узла креплений:
1 – стойка; 2 – направляющий стержень.

Отверстие в правой стойке мы делали так. Просверлив в расчетном месте стойки отверстие диаметром 7,6 мм, мы зенкеровали его с обеих сторон до образования кромки нужной толщины, после чего удаляли перемычку между верхом стойки и отверстием, чтобы стержень можно было опускать в отверстие.

С целью обеспечения техники безопасности со стороны держателя около фрезы устанавливают щиток-стойку (см. рис. 1), который является также упором, ограничивающим дальнейшее движение (опускание) держателя при нарезке зубцов, как только плоскость заготовки совпадет с центром оси фрезы. Высоту щитка определяют после того, как смонтируют и установят на место и режущий узел, и держатель.

Особое внимание следует обратить на то, чтобы оси фрезы и стержня держателя находились в одной плоскости и были параллельны друг другу, а высота оси стержня держателя располагалась ниже оси режущего узла на 7...10 мм. Понятно, если узлы эти будут установлены правильно, то фреза будет перпендикулярна к стержню держателя.

Для вращения фрезы в настоящее время можно без проблем подобрать подходящий электродвигатель, который может быть одно- или трехфазным, общего назначения или от бытовой техники. В крайнем случае задействуйте электродвигатель, сняв его временно с какого-нибудь работающего устройства. В этом случае придется сделать хомуты с натяжными замками, чтобы на период нарезки зубцов быстро установить двигатель на нарезной станок и надежно закрепить его. Под держателем заготовки неплохо расположить кнопочный выключатель, отрегулировав его так, чтобы он включал электродвигатель в момент подхода заготовки гребня к фрезе на 10...15 мм и отключал электродвигатель при возврате заготовки в исходное положение.

При наличии токарного станка достаточно сделать только держатель заготовки гребня, который на период нарезки зубцов закрепляют в суппорте вместо резца.

Изготовление гребня

Прежде всего осмотрите рог, обращая внимание на его дефекты (отщепления, расслоения и трещины). Если таковые есть, то прикиньте, будут ли они ликвидированы в процессе обработки. Если в этом есть сомнение, лучше от дефектов избавиться при раскрое рога. Далее распиливают рог на кольца, ширина которых больше ширины гребня на 10 мм. Кольца распиливают на куски нужных размеров (желательно все их сделать одинаковой толщины, при этом лучше уменьшить толщину заготовок до разумных размеров, что облегчит их прогрев и выпрямление).

Чтобы распрямить заготовку, ее нагревают в кипящей воде, после чего размягченные до нужной кондиции пластины зажимают в прессе между ровными достаточно прочными пластинами. Нагревать заготовки можно и в духовке, подвесив заготовку так, чтобы она не касалась стенок. Учтите, после нагрева в кипятке заготовке, зажатой в прессе, нужна там длительная «сушка» при повышенной температуре, иначе заготовка не сохранит нужную форму. А нагревание в духовке требует определенного навыка, зато после остывания и изъятия из пресса заготовка остается прямой и готова к обработке.

Рис. 7. Система фиксации направляющего стержня в правой стойке узла крепления с помощью гайки300333
Рис. 7. Система фиксации направляющего стержня в правой стойке узла крепления с помощью гайки:
1 – держатель; 2 – зажимной болт; 3 – гайка с проточкой; 4 – лыска; 5 – направляющий стержень; 6 – стойка.

Перед нарезкой зубцов заготовке придают окончательные размеры и форму, полируют, устанавливают в держатель параллельно стержню, выдвигая в сторону фрезы на глубину реза, надежно зажимают болтами. Далее, передвигая направляющий стержень, устанавливаем пластину напротив фрезы в месте первого реза, фиксируем (прижимаем) руками держатель в гнезде правой стойки, поворотом заготовки в сторону фрезы до упора (щитка) делаем рез и возвращаем заготовку в исходное положение. При формировании мелких зубцов после каждого реза держатель с заготовкой перемещаем на два шага резьбы (через один щелчок) и на три (через два щелчка) – при нарезке крупных зубцов. Качество нарезки зубцов зависит от того, насколько равномерно поворачивают держатель и насколько надежно держатель зафиксирован. Нужно отметить, что при повороте держателя при нарезке зубца происходит и его осевое смещение приблизительно на 1/18 шага резьбы, что фактически не влияет на качество нарезки. А если возникает желание исключить это смещение, изготовьте другой узел фиксации направляющего стержня (узел показан на рис. 7). Главная деталь узла – гайка с проточкой (круговым пазом), с помощью которой гайка держится на стойке. Вращая гайку, удается перемещать направляющий стержень с держателем. За один оборот гайки стержень перемещается на шаг резьбы. А чтобы при нарезке зубцов направляющий стержень поворачивался вместе с гайкой, предусмотрен стопорный винт. Последний при зажиме может повредить резьбу на стержне, поэтому на стержне снимают лыску по всей длине резьбовой его части.

Итак, для перемещения держателя с заготовкой ослабляют стопорный винт, поворачивают гайку на нужное число оборотов, после чего снова зажимают стопорный винт и делают пропил.

Несколько рекомендаций

1. При распрямлении заготовок из рога в качестве пресса подойдут не только тиски, но и струбцина мясорубки.

2. Раскраивая железо при изготовлении стоек, держателя и других изделий, пользуйтесь тисками и зубилом. Это «отличные ножницы» по металлу.

3. Если вместо фрезы установить небольшой наждачный круг, легко наточить железку рубанка, закрепив ее в держатель и зафиксировав держатель на определенной высоте.

4. Из коровьих рогов делают не только гребни, но и многие другие поделки. В частности, получаются красивые ночные светильники в виде фантастических рыб. Плавники, гребень и хвостовое оперение рыб выполняют из выпрямленных коровьих рогов.

likes  ||  counter  ||  Хостинг Web1.0